西柚理财

  • 首页
  • 金融理财
  • 财经知识
  • 理财课堂
  • 新闻热点
  • 常见问题
  1. 首页
  2. 新闻热点
  3. 正文

【推荐】今年暴涨400大牛股控股股东股份全遭冻结上市公司股份冻结

作者:XiaoMing 发布时间:2025-03-03 栏目: 新闻热点 0浏览

继被强制平仓后,“英伟达概念股”鸿博股份(002229)控股股东寓泰控股所持股份再遭司法冻结。

6月14日晚间,鸿博股份公告,寓泰控股所持2873.51万股股份被河南省开封市鼓楼区人民法院、济宁市任城区人民法院司法冻结,叠加5月份已被四川省巴中市中级人民法院司法冻结的4094万股股份,寓泰控股名下持股已全部处于冻结状态。与此同时,其一致行动人辉熠贸易所有持股此前亦被冻结,二者累计被冻结股数达1.1亿股,占总股本的22.01%。

公告显示,本次遭司法冻结的股份冻结期限为3年,解除日期为2026年6月12日。对于前述股权被司法冻结的原因,鸿博股份并未在公告中披露。公司表示,冻结股份不涉及业绩补偿义务,不会对公司经营及治理产生重大直接影响,亦不会导致实控人发生变更。

鸿博股份因与英伟达等在北京合作成立AI中心被市场热捧,股价大幅攀升,最新报收35.07元/股,市值175亿元,今年以来涨幅达427%。

二级市场表现亮眼,但鸿博股份股权层面却频起风波。

今年4月,鸿博股份发生实控人变更,实控人毛伟已将所持寓泰控股及辉熠贸易全部股份分别转让给黎小林、杨凯,同时黎小林、杨凯又将所持全部股份表决权反向委托给毛伟,由此三人构成一致行动人关系,构成新任实控人团队。目前,杨凯、黎小林仅持有股份却不拥有表决权,而毛伟仅持有表决权而不持有股份,且三人均不在公司任职,一度引发交易所关注。

实控人变更一个月后,鸿博股份于5月10日传来控股股东部分股份被司法冻结的消息,累计被冻结股份数为8094万股,占总股本的16.24%,占其所持股份的72.75%。次日,公司股价跌停。

因寓泰控股部分股份通过财通证券信用账户持有,在前述司法冻结后,财通证券宣布寓泰控股信用账户的融资融券合约提前到期,并在6月12日对账户中的股份进行强制平仓,累计卖出158.87万股,卖出金额超6000万元,用以偿还寓泰控股在财通证券的融资款。

二级市场方面,近两日鸿博股份一改上涨走势,分别下跌4.76%、6.8%。

值得一提的是,鸿博股份日前曾遭“乌龙退市”,引发市场关注。6月13日,华创证券投教基地公众号发布一则题为“关于鸿博股份进入退市整理期交易的风险提示公告”的文章,但文中内容实为鸿博股份被列入深交所重点监控证券名单,系“题不对文”。目前,上述文章已被删除。华创证券客服表示,造成前述情况的原因是标题编辑错误。

据公开资料,鸿博股份被交易所重点监控期间暂定为2023年6月13日-6月28日,在此期间,深交所将对鸿博股份重点监控,对频繁大量参与该证券交易、存在异常交易行为的投资者从严监管。

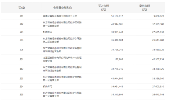
龙虎榜数据显示,6月14日鸿博股份前五大买入及卖出席位多为游资,东方财富“拉萨天团”霸榜,其中东财拉萨团结路第一营业部分别位列买2、卖3,东财拉萨东环路第一营业部位列买4、卖5,东财拉萨金融城南环路营业部分别位列买5、卖2。与此同时,机构专用席位位列买3、卖4,买入及卖出金额分别为3995.14万元、2760.59万元。

从基本面来看,鸿博股份既有的安全印务、彩票新渠道等业务增长乏力,2022年营收为5.46亿元,同比下降5.01%;净利润为亏损7506.95万元,同比由正转负;扣非后净利润为-8785.82万元,已连续五年为负。今年一季度公司净利为-1825.11万元,仍处于亏损状态。

在市场颇为关注的AI领域,鸿博股份近日密集发声透露进展。公司表示,与英伟达等合作成立的北京AI创新赋能中心已投入实际运营,相关产品与服务处于测试推广阶段。AI业务核心子公司英博数科于2023年5月初产生营业收入与利润,在手订单涉及算力出租、 一站式采购、产业实验室等多方面。

责编:彭勃

校对:廖胜超

影象测量仪

光学测量仪器公司

3d光学测量仪

影像测量仪器公司

版权声明

本文内容由互联网用户自发贡献,该文观点仅代表作者本人。本站仅提供信息存储空间服务,不拥有所有权,不承担相关法律责任。如发现本站有涉嫌抄袭侵权/违法违规的内容, 请发送邮件至 931614094@qq.com 举报,一经查实,本站将立刻删除。

版权所属:西柚理财

文章作者:XiaoMing

本文地址:http://caijing.cj8822.cn/84767.html

分享本文
上一篇
【推荐】今年普通农户每亩能得到多少补贴能到300多吗2016水稻保护价是多少
下一篇
【推荐】今年最后一调降价1升0号柴油等于多少公斤
猜你喜欢
全域智慧 引领未来!瑞驰汽车携多款全域智慧新品亮相2025世界智博会
全域智慧 引领未来!瑞驰汽车携多款全域智慧新品亮相2025世界智博会
10来万电混SUV怎么选,蓝电E5为何会比启辰大V DD-i更划算呢
10来万电混SUV怎么选,蓝电E5为何会比启辰大V DD-i更划算呢
老百姓的致富车,风光380现金直接补3千元,载人拉货样样都行!
老百姓的致富车,风光380现金直接补3千元,载人拉货样样都行!
更省油的郊游神器,可选7座、可对外放电,比哈弗大狗更实用!
更省油的郊游神器,可选7座、可对外放电,比哈弗大狗更实用!
拉货拉人一车多用 购车还有6千现金直补 东风小康EC36II每公里只需7分钱!
拉货拉人一车多用 购车还有6千现金直补 东风小康EC36II每公里只需7分钱!
直补2千,东风小康D71动力强、载重大,长安跨越王X3怎么比
直补2千,东风小康D71动力强、载重大,长安跨越王X3怎么比
真心懂国民的电混SUV - 蓝电E5遇上启辰大V DDi上演降维打击!
真心懂国民的电混SUV - 蓝电E5遇上启辰大V DDi上演降维打击!
比五菱宏光V更值的致富神器,风光380方方面面都不错还能便宜1100元呢!
比五菱宏光V更值的致富神器,风光380方方面面都不错还能便宜1100元呢!
热门文章
  • 全域智慧 引领未来!瑞驰汽车携多款全域智慧新品亮相2025世界智博会

    全域智慧 引领未来!瑞驰汽车携多款全域智慧新品亮相2025世界智博会

    2025-09-05 5489
  • 10来万电混SUV怎么选,蓝电E5为何会比启辰大V DD-i更划算呢

    10来万电混SUV怎么选,蓝电E5为何会比启辰大V DD-i更划算呢

    2023-10-01 704
  • 老百姓的致富车,风光380现金直接补3千元,载人拉货样样都行!

    老百姓的致富车,风光380现金直接补3千元,载人拉货样样都行!

    2023-10-18 699
  • 更省油的郊游神器,可选7座、可对外放电,比哈弗大狗更实用!

    更省油的郊游神器,可选7座、可对外放电,比哈弗大狗更实用!

    2023-09-28 699
  • 拉货拉人一车多用 购车还有6千现金直补 东风小康EC36II每公里只需7分钱!

    拉货拉人一车多用 购车还有6千现金直补 东风小康EC36II每公里只需7分钱!

    2023-10-23 698
  • 直补2千,东风小康D71动力强、载重大,长安跨越王X3怎么比

    直补2千,东风小康D71动力强、载重大,长安跨越王X3怎么比

    2023-10-17 698
  • 真心懂国民的电混SUV - 蓝电E5遇上启辰大V DDi上演降维打击!

    真心懂国民的电混SUV - 蓝电E5遇上启辰大V DDi上演降维打击!

    2023-10-01 697
  • 比五菱宏光V更值的致富神器,风光380方方面面都不错还能便宜1100元呢!

    比五菱宏光V更值的致富神器,风光380方方面面都不错还能便宜1100元呢!

    2023-10-23 696
网站分类
  • 金融理财
  • 财经知识
  • 理财课堂
  • 新闻热点
  • 常见问题
云标签
  • 关于我们
  • 联系我们
  • 广告合作
Copyright © 西柚理财 Design by 西柚理财
备案号 版权归西柚理财所有